宜信同城网交流论坛

 找回密码
 立即注册
开启左侧

干货大放送:门禁接线及人员配置合辑

[复制链接]
发表于 2023-2-19 17:43:28 | 显示全部楼层 |阅读模式 来自 LAN


3419f1a70df5c486dbcb71df2eac67e9.png

门禁主机怎么解锁?

门禁一体机怎么接读卡器?

读卡器怎么接线?

怎么拨码?

接好线了怎么配置?

……


对于门禁设备

你是否也有上面的问题呢?

本期康康为大家带来:

门禁技术专题

你的问题,

这篇文章统统帮你搞定!


门禁接线篇

门禁主机接锁

门禁主机接电锁

以K2600为例,主板上有锁+跟锁-的端子,端子自身已经带12V的电了,只需要把磁力锁或电插锁或阴极锁的正极接正极,锁的负极接负极,再把继电器状态通过跳帽设置常开或常闭状态即可。

a1e293042157e4740aa4bb15c86eeec8.png


门禁主机接无需主机供电的锁

以K2600为例,绿色主板有D+D-提供不带电的开关量信号,接上对应的锁或者电动门即可。再通过跳帽设置对应常闭或常开信号。

496abc9a3e8fb4f8386ca3ebe3c8ba6e.png



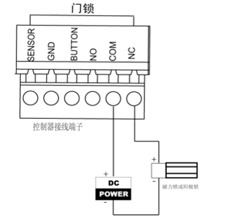
门禁一体机接锁

门禁一体机接锁原理

开锁:断电关门。

接线方式:一体机NO接锁+,锁-接外接电源-,外接电源+接一体机COM

4c70f63a124cd002cbffd16dd77e3d2f.png


闭锁:通电关门。

接线方式:一体机NC接锁+,锁-接外接电源-,外接电源+接一体机COM

4b388cf5b1bb8952cd7b2bb52577a714.png


门禁主机(含一体机)接读卡器

读卡器485接法

门禁主机的4个端子 RS485+、RS485-、12V、GND分别接到读卡器的RS485+,RS485-,PWR,GND

92842d91e3e9b9ada8bb937be5804c7e.png

读卡器韦根接法

读卡器的红(+12V)和黑(GND)接读卡器的读头电源处,绿(W0)接端子W0,白色(W1)接端子W1处。此处四根线是必连的。如果要控制韦根的LED和蜂鸣,就必须把BZ/ERR/OK都接上去。

9325bdf3616dffa52c600bce487184de.png



门禁主机读卡器接线——手拉手

K2601/K2602/K2604分别对应最多可并接2/4/8个RS485读卡器

读卡器的前四位为地址拨码,遵循原则地址1对应门1进,地址2对应门1出,地址3对应门2进,地址4对应门2出,以此类推,最多到地址8。

读卡器采用485接线时,后面四位无需拨码,都是OFF的状态。

18cf91e29247ce53e1f58fecff72b199.png


读卡器拨码

371dbf8e3c4bd924d8a0358915fa2407.png

读卡器拨码盘

485读卡器拨码

095673e9ead04567e940e883a8a8363e.png

二进制拨码方式:

第一个门的进门读卡器拨1,出门读卡器拨2。

第二个门的进门读卡器拨1和2,出门读卡器拨3。

第三个门的进门读卡器拨1和3,出门读卡器拨2和3。

第四个门的进门读卡器拨1和2和3,出门读卡器拨4。

重启生效

韦根读卡器拨码

拨6,其余不拨。重启生效。

(现在新出的读卡器韦根连接不加密情况下拨5和6,其余不拨。)



门禁一体机通讯设置

485通讯设置

门禁一体机做主机,外接485读卡器时:

1) 将一体机的工作模式设置为主机模式通讯设置-485设置-外接设备,选择读卡器

2)读卡器背板拨码位置,将读卡器设置为RS485模式,并将二进制拨码地址设置为地址2

3)一体机做主机使用时,RS485地址默认为1

cadc38af44cd9115e5f557c99f86f59e.png
aea0958109f79dcd6488a741fb9d4f22.png


韦根通讯设置

门禁一体机做主机,外接韦根读卡器时:

1)读卡器背板拨码位置,将读卡器设置为Weigand模式通讯设置-韦根设置-传输方向,选择为输入

2)一体机Weigand设置中,启用Wiegand使能,根据读卡器模式选择对应的Weigand34或Weigand26

3)Weigand通讯接线建议不超过80米

4)外部电源必须要跟一体机电源共地。


87046ac6a78500425f7d0c1e4ce5acd4.png
35ccdee252467bfd846f4fc42c82a937.png



门禁主机(含一体机)接门磁

门磁原理

是安全报警的一种装置,用来探测门状态并可以反馈门状态(iVMS-4200查看)。


门磁接线

将门磁信号线接到一体机上SENSOR/GND接线端子。

afe9099ef5b925b4a5003296bd5fa035.png


门禁主机接开门按钮

开门按钮原理

开门按钮按下,给门禁主机一个闭合信号,此时门禁主机开门按钮对应继电器状态改变,实现开门。


开门按钮接线

开门按钮“press”接“开门”,“to exit”接“GND”(不区分正负极)

bd237a0da4f3f60ca775e70eabfee626.png


门禁一体机接开门按钮


开门按钮原理

开门按钮按下,给门禁一体机一个闭合信号,此时门禁一体机开门按钮对应继电器状态改变,实现开门。

开门按钮接线

开门按钮PRESS接BUTTON,TO EXIT接GND(不区分正负极)


e543498f5b01fc5f3bb1c8fd005307fc.png




人员配置篇

本地添加人员(需设备支持)

进入后台方式

①K1T671系列以及K1T3系列,长按显示器3秒,根据界面上方手势,向左或向右滑动,进入入管理员验证界面。

②K1T804系列长按OK键3秒,输入管理员密码进入后台UI界面。

(一般触屏的是待机界面长按屏幕输入激活密码进入后台,其他的以用户手册为准)

e5051413e6c855c98c1532a995b69da7.png
f7a88c29f368931e69e1cd58571ca8a9.png


添加人员方法

4bbb5882c5a7358720fd29fcfe3853f8.png
6b6ffa391de3ff440651e2b83d3d5ef5.png

点击用户管理,点击“”进入添加用户界面,设置工号、姓名,点击卡号,卡片放到刷卡区域识别卡号,点击指纹-录入指纹,点击人脸-录入人脸,设置验证方式,然后保存。


iVMS-4200客户端添加人员

209106c2371d91bd1ffa8fe9d06418d4.png

操作步骤

客户端

①点击人员管理,添加-添加组织;

②点击右侧添加,设置编号、姓名,择卡片,点击“”,发卡配置-选择本地(使用发卡器)或选择远程(使用设备本身读卡器),点击开始读取,卡片放到刷卡区域,识别卡号后点击添加,完成添加卡片。


iVMS-4200客户端下发权限

8f64479c6837eb10f00af755c09238dc.png

操作步骤

客户端

①点击访问控制-点击权限管理-点击权限组;

②点击添加-设置名称-选择计划模板-选择部门-选择门禁点-点保存 ;

③选择刚才添加好的权限组-点击异动下发或全部下发。

918c42c5f780567d1f0e3c7f6c3f8578.gif

异动下发:在保留设备本地的人员的前提下,把新的人员下发到设备本地。

全部下发:不保留设备原有人员,先清空原有人员,再把客户端里选择的人员下发到设备本地。

897aa1b342fb6b1167a6a5e88a17c846.gif




a00fee3020bcd9562a70bd4b1d5ecf24.png


每周三晚19:00

海康威视客户服务直播间与你不见不散



a9807c7b4e216c290fdad9b86d76c7e4.gif

点分享

65b2e31941f9f84e0dbd3928b48b5f10.gif

点收藏

36e91e057be3ed3d1c1439c95c7b3d1e.gif

点点赞

94bdd3931dd200e6d498fcb672f8b70f.gif

点在看

宜信网交流论坛 - 版权声明 1、在发表言论时,请遵守当地法律法规。主题所有言论纯属个人意见,与本站立场无关。
2、本站所有主题由作者发表,作者享有帖子相关版权,其他单位或个人使用、转载或引用本文时必须征得作者同意并注明来源于宜信网
3、如本帖侵犯到任何版权问题,请立即告知本站,本站将及时予与删除并致以最深的歉意。
4、帖子不遵守当地法律法规、广告、人身攻击等情况时,宜信网管理人员有权不事先通知发贴者而删除本文。
您需要登录后才可以回帖 登录 | 立即注册

本版积分规则

QQ|Archiver|手机版|小黑屋|宜信同城网交流论坛 ( 闽ICP备19021048号 )|站点地图

GMT+8, 2026-3-27 23:21 , Processed in 0.169085 second(s), 16 queries , Redis On.

Powered by Discuz! X3.4

Copyright © 2001-2020, Tencent Cloud.

快速回复 返回顶部 返回列表