宜信同城网交流论坛

 找回密码
 立即注册
开启左侧

知识 | 作为工程商,怎么可以不会门禁产品接线?

[复制链接]
发表于 2023-2-19 17:44:53 | 显示全部楼层 |阅读模式 来自 LAN

接线

门禁产品

本篇文章

康康给大家总结一下门禁产品的接线合辑

话不多说

跟着康康一起来学习一下~


门禁接线篇


01

门禁主机接锁


门禁主机接电锁

以K2600为例,主板上有锁+跟锁-的端子,端子自身已经带12V的电了,只需要把磁力锁或电插锁或阴极锁的正极接正极,锁的负极接负极,再把继电器状态通过跳帽设置常开或常闭状态即可。

3ee3ecd895db69117c9ea2561acd9d76.png


门禁主机接不带电的锁

以K2600为例,绿色主板有D+D-提供不带电的开关量信号,接上对应的锁或者电动门即可。再通过跳帽设置对应常闭或常开信号。

c58439604c33c6e32bcece872acf1424.png


02

门禁一体机接锁


门禁一体机接锁原理

下图为例,是常开的锁,断电关门。那我们给open以及gnd一个闭合信号,通上电,锁舌回缩,即可开门。

f0bb8d753e29cd92e15b2fadd4be35ad.png


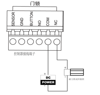
一体机或门禁主机K2800接线方法

锁的负极接电源负极,锁的正极接NC,电源的正极接COM。或者锁的正极接电源正极,锁的负极接NC,电源的负极接COM也可以。形成一个断路或者闭合的电路。

插入视频


03

门禁主机(含一体机)接读卡器


读卡器485接法

门禁主机的4个端子 RS485+、RS485-、12V、GND分别接到读卡器的RS485+,RS485-,PWR,GND

f1e86e24c6cafce95ee4ff3bb401ecbb.png


读卡器韦根接法

读卡器的红(+12V)和黑(GND)接读卡器的读头电源处,绿(W0)接端子W0,白色(W1)接端子W1处。此处四根线是必连的。如果要控制韦根的LED和蜂鸣,就必须把BZ/ERR/OK都接上去。

dad2242a5cd5f0d38a9606fe58106f5a.png


04

门禁主机读卡器接线——手拉手

K2601/K2602/K2604分别对应最多可并接2/4/8个RS485读卡器

读卡器的前四位为地址拨码,遵循原则地址1对应门1进,地址2对应门1出, 地址3对应门2进,地址4对应门2出,以此类推,最多到地址8。

读卡器采用485接线时,后面四位无需拨码,都是OFF的状态。

fb1049845eeabf60eef2b046e322d698.png


05

读卡器拨码

b5f5af0dc3230acbfe2a2511374090fe.png

读卡器拨码盘


485读卡器拨码

二进制拨码方式,第一个门的进门读卡器拨1,出门读卡器拨2。第二个门的进门读卡器拨1和2,出门读卡器拨3。第三个门的进门读卡器拨1和3,出门读卡器拨2和3.第四个门的进门读卡器拨1和2和3,出门读卡器拨4,重启生效。


韦根端口器拨码

拨6,其余不拨。(现在新出的读卡器韦根连接不加密情况下拨5和6,其余不拨。)重启生效


06

门禁一体机通讯设置


485通讯设置

门禁一体机做主机,外接读卡器时:通讯设置-RS485-外接设备选择读卡器。

777b262a388be80f113ecb24ddda519d.png


韦根通讯设置

门禁一体机做主机,外接韦根读卡器时:通讯设置-韦根设置-韦根启用-传输方向选择输入-模式选择韦根34。

3689884b2ec423507314870b88394f31.png


07

门禁主机(含一体机)接门磁

门磁原理

是安全报警的一种装置,用来探测门状态并可以反馈门状态(4200查看)。


门磁接线

将门磁信号线接到一体机上SENSOR/GND接线端子。

b42d41824fcb43411163952ab21e2f97.png


08

门禁主机接开门按钮

开门按钮原理

开门按钮按下,给门禁主机一个闭合信号,此时门禁主机开门按钮对应继电器状态改变,实现开门。


开门按钮接线

开门按钮“press”接“开门”,“to exit”接“GND”(不区分正负极)

1e1c161d08e3c8ab4b092ccce7e2f55a.png


09

门禁一体机接开门按钮


开门按钮原理

开门按钮按下,给门禁一体机一个闭合信号,此时门禁一体机开门按钮对应继电器状态改变,实现开门。

开门按钮接线

开门按钮PRESS接BUTTON,TO EXIT接GND(不区分正负极)


11da10354eabe493608e34164aca40fa.png


20e1efec3feec25b63f8ed080186af35.png

门禁产品接线你学会了吗?独乐了不如众乐乐!快去点赞!转发!评论!一键三连啊!



bbfde4249ad26b56e44cdb1bf3cd1df6.png


每周三晚19:00

海康威视客户服务直播间与你不见不散~



分享、在看与点赞,康康需要你的支持~

c4dce040eb1080c9e6350322044399ea.gif

分享

e5664f5d0c4084014385e7fcae92d933.gif

点赞

94e2572ca8463996eab1bd45a81bdb8d.gif

在看

宜信网交流论坛 - 版权声明 1、在发表言论时,请遵守当地法律法规。主题所有言论纯属个人意见,与本站立场无关。
2、本站所有主题由作者发表,作者享有帖子相关版权,其他单位或个人使用、转载或引用本文时必须征得作者同意并注明来源于宜信网
3、如本帖侵犯到任何版权问题,请立即告知本站,本站将及时予与删除并致以最深的歉意。
4、帖子不遵守当地法律法规、广告、人身攻击等情况时,宜信网管理人员有权不事先通知发贴者而删除本文。
您需要登录后才可以回帖 登录 | 立即注册

本版积分规则

QQ|Archiver|手机版|小黑屋|宜信同城网交流论坛 ( 闽ICP备19021048号 )|站点地图

GMT+8, 2026-3-27 21:49 , Processed in 0.274362 second(s), 16 queries , Redis On.

Powered by Discuz! X3.4

Copyright © 2001-2020, Tencent Cloud.

快速回复 返回顶部 返回列表