宜信同城网交流论坛

 找回密码
 立即注册
开启左侧

单元/别墅门口机接线指导

[复制链接]
发表于 2023-2-19 17:49:13 | 显示全部楼层 |阅读模式 来自 LAN

说到门口机接线,很多人听到都是很头疼,觉得特别复杂,其实不然,下面就是康康精心整理出的单元门口机和别墅门口机接磁力锁和开关按钮的接线方式,赶紧学习起来吧~


接磁力锁篇

01

明确锁类型

确认常开或闭接线( NO/NC)【辨别锁的类型,建议联系一下对应厂家】

NC1/COM1端默认接入磁力锁阳极锁

NO1/COM1端默认接入磁力锁阴极锁


02

选择对应的端口完成接线

单元门口机

别墅门口机

846d2b85cefc8faa86e8f0f7c99a53cc.png
5f4cf8170859efbf0809d031108a072c.png


03

开门测试效果

单元门口机:短接开门按钮(例如S1和G或A1和G);刷合法卡开门

别墅门口机:刷合法卡开门



接开门按钮篇

01

明确对应接口

根据丝印标识找到 SENSOR 端子处的 S1 或 A1 和 GND


02

选择对应端口完成接线

单元门口机

别墅门口机

e14f9e499ec531d2d2db4899df10405a.png
5131d133292d6d632c52630ba66d3f8d.png


03

测试开门效果

按压开门按钮测试开门效果

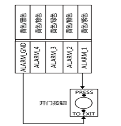
备注:别墅门口机如需在ALARM_n/ALARM_GND 端接开门按钮 ,需利用可视对讲配置工具 把 ALARM_n(ALARM_1~4)/ALARM_GND 端输入用途设置为开门按钮。


1

END

1

宜信网交流论坛 - 版权声明 1、在发表言论时,请遵守当地法律法规。主题所有言论纯属个人意见,与本站立场无关。
2、本站所有主题由作者发表,作者享有帖子相关版权,其他单位或个人使用、转载或引用本文时必须征得作者同意并注明来源于宜信网
3、如本帖侵犯到任何版权问题,请立即告知本站,本站将及时予与删除并致以最深的歉意。
4、帖子不遵守当地法律法规、广告、人身攻击等情况时,宜信网管理人员有权不事先通知发贴者而删除本文。
您需要登录后才可以回帖 登录 | 立即注册

本版积分规则

QQ|Archiver|手机版|小黑屋|宜信同城网交流论坛 ( 闽ICP备19021048号 )|站点地图

GMT+8, 2026-3-27 12:57 , Processed in 0.130552 second(s), 16 queries , Redis On.

Powered by Discuz! X3.4

Copyright © 2001-2020, Tencent Cloud.

快速回复 返回顶部 返回列表